12/1/2022
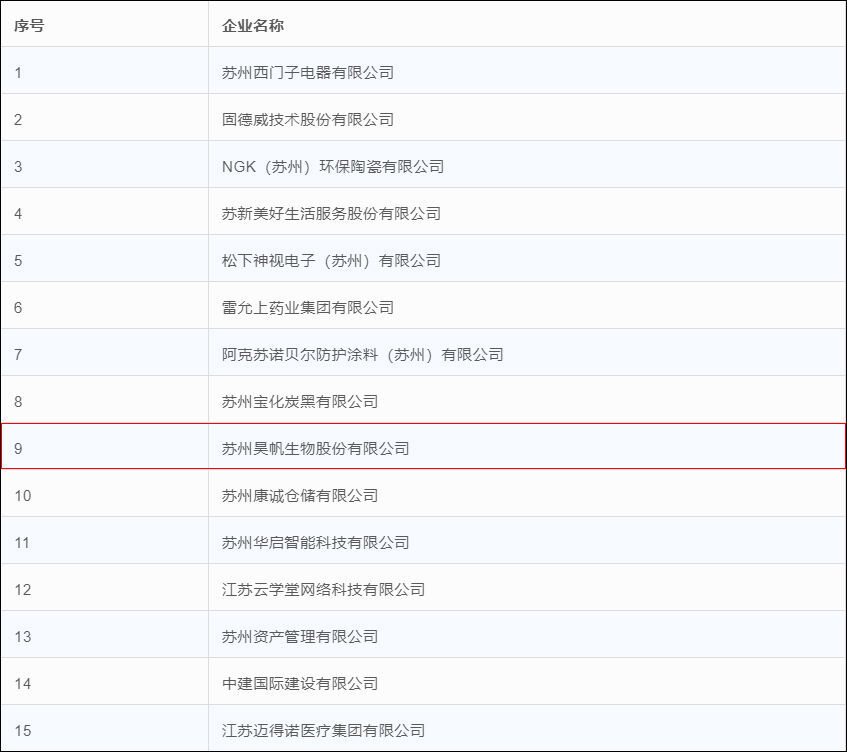
このほど、2022年に特定される蘇州本社企業の年次リストが発表された。 ハイテクゾーンの企業15社がリストに名を連ね、市内でも上位にランクインした。 Haofan Biotech は最終候補者に選ばれました。
最近
2022年蘇州市本部企業候補リスト発表
ハイテクゾーンの15社がリスト入りを果たした
この数は市内でもトップクラスである
Haofan Biotechが最終選考に残りました


蘇州ハオファン生物有限公司

2003年に設立され、主にペプチド合成試薬、分子ビルディングブロック、
タンパク質架橋剤、非天然アミノ酸、リポソーム
高級生物学的試薬の研究開発、製造、販売。
当社は強力な研究開発力を備えた国家ハイテク企業です。
江蘇省タンパク質架橋剤工学技術研究センターを設立
江蘇省企業技術センターおよび江蘇省大学院ワークステーション、
現在、23件の有効な発明特許が取得されています。
有機合成分野での技術蓄積により、Haofan Bioは
ペプチド合成試薬の分野で約20年の経験を持ち、
専門的で高水準のプロセス開発システムを通じて、
現在、当社は中国最大の供給量と最も充実した種類を誇るペプチド合成試薬のサプライヤーとなっています。
国際的にも高い評価を得ています。
世界経済を活性化させる鍵として
本社所在地企業の認定
これは当社の発展の可能性を最も直接的に証明するものです
本社企業の「登録投票」
これはまた、Haofan Biotechの役割を間接的に説明しています。
人材投資、研究開発イノベーションなどにおける総合的な競争力。
これまで
ハイテクゾーンには合計38の市級本部企業が認定されている。
これらの本社企業は主に
インテリジェント製造、バイオメディカルなどの分野
大量生産、高技術、高付加価値という特徴を持つ
政府からの多大な支援に感謝します
ハオファンはこれからも頑張っていきます
経済発展に貢献する
| 情報元:蘇州ハイテク産業開発区発表
ご興味のある関連商品をご紹介いたします。ご不明な点がございましたら、お気軽にお問い合わせください。
ペプチド合成試薬のお見積もりは下記のフォームにご記入ください。